
產品名稱:WKse雙螺桿泵(丁苯乳膠專用泵)
產品簡介:帶加熱套等各種結構形式齊全,可以輸送各種清潔的不含固體顆粒的低粘度或高粘度介質。
天津遠東泵業-宏偉皮革漿料用Wkse雙螺桿泵現場使用案例


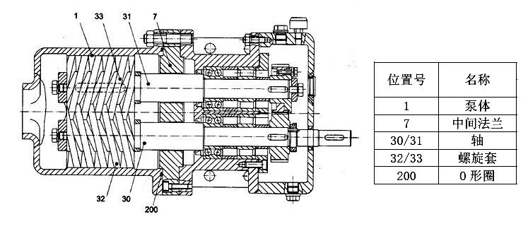
工作原理及結構特點
在泵的工作過程中,螺桿與螺桿以及螺桿與襯套之間形成密封腔,液體經進口進入泵內,然后進入密封腔,隨著螺桿的回轉運動,有進口處平穩地被輸送到出口處。
l 無攪動、無脈動、低噪音
這是由螺桿泵的工作原理所決定。無論任何時間、地點,對周圍環境沒有任何影響。螺桿泵的固有工作原理保證了其工作時,幾乎為零的壓力脈動。超低噪音設計以及精心挑選的其他配套轉動部件,保證了整個機組即使在深夜工作,也不會對加氣站附近的居民有任何影響。
l 干運轉能力強
襯孔的相對位置由止口定位,螺桿軸由軸承支承定位,而工作期間保持螺桿和螺桿之間以及螺桿與襯套之間互不接觸,因而,泵允許干運轉;并允許輸送各種介質(如牛頓及非牛頓流體、潤滑性及非潤滑性液體、腐蝕性液體等),適合于多相介質的輸送。
l 適用于頻繁啟動的工況場所
每小時啟動次數可達15~20次。
l 具有高的吸入性能,自吸能力強
因進口流道的特殊設計以及工作時液體的軸向速度相對較小,因此泵的NPSHr值很小,有很好的吸上能力;軸承和同步齒輪由齒輪箱中的齒輪油潤滑,排出口設在泵的頂端,當停泵時,泵體內保留足夠的介質,因此泵有很好的自吸能力。最大吸入真空度可達7.5m水柱。W.kse型雙螺桿泵采用了特殊組合的螺桿型線,以及特殊的泵流道腔室設計,保證了泵能夠在工作期間保持很高的工作效率。
l 操作簡單,維修方便
W.kse型雙螺桿泵采用獨特的設計方式,使其操作和維修非常簡便,可方便地拆下泵體聯接螺釘,把泵體單獨卸下,從而直接清洗泵體、螺旋套及機械密封,泵的過流部分無死角。可用溫度低于180℃的蒸汽或其它介質對泵進行清洗或消毒。維修更換密封不影響機組其它部件,泵的工作極為可靠安全。
泵的出口可自行安置安全設施(如溢流閥、壓力控制閥、安全閥等),如果需要,泵機組可提供為移動式(底座裝有四個小輪子和牽引扶手)。
l 簡單的維護,滿意的工作壽命
W.kse型泵采用特殊的定位結構設計,軸承承受軸向力,螺桿轉子之間,轉子與泵殼之間沒有任何金屬接觸,從而保證了泵的長時間幾乎無磨損的工作。巧妙的傳動結構設計使得日常維護工作量幾乎為零。泵的使用壽命長。
l 特殊設計,調速靈活
根據用戶的要求,可用無級調速電機驅動泵或用變頻調速系統控制電機驅動泵,它們的共同特點是用調整電機的轉速來調節泵的流量。



★ 清洗快速、方便
★ 可平穩、無剪切輸送液體
★ 有很強的自吸能力,且能汽液混輸
★ 工作元件間無接觸,可夾帶一定量的細小顆粒(如高嶺土等)
★ 允許短期干運轉(≤2min)
★ 介質粘度可達100000mm2/s
★ 改變轉速來調節流量,輸出壓力保持穩定
★ 具有同步齒輪,軸承外置
★ 各種驅動方式均可使用
★ 可選擇不同的進出口聯接方式(法蘭或圓弧螺紋聯接)
★ 拆裝方便,維修簡單
★ 高效節能


○化工業:各種酸、堿、鹽液、樹脂、甘油、石蠟、重渣油、汽油和其它化工原料。
○油漆業:油墨、各種油漆、顏料、涂料等。
○飲料食品業:酒精、酒類、蜂蜜、糖漿、牙膏、牛奶、奶油、醬油、植物油、動物油、巧克力、八寶粥等。
○制藥業:各種制劑、葡萄糖液、以及各種注射液等











天津遠東泵業三十多年來專業生產螺桿泵、齒輪泵、高粘度泵等工業用泵,我們專心專注為您打造省時、省心、省力的流體輸送方案,您的滿意是我們最大的追求。全國免費咨詢熱線:4008-737-966

溫馨提示:由于螺桿泵型號及參數較多,這里只寫螺桿泵部分型號。詳細型號及參數請下載雙螺桿泵選型樣本查看。
W3Kse系列
W3Kse-15-M1-W77雙螺桿泵 W3Kse-15-M1-W75雙螺桿泵
W3Kse-36-M1-W77雙螺桿泵 W3Kse-36-M1-W75雙螺桿泵
W4KSe系列
W4Kse-48-M1-W77雙螺桿泵 W4Kse-70-M1-W75雙螺桿泵
W4Kse-56-M1-W77雙螺桿泵 W4Kse-36-M1-W75雙螺桿泵
W4Kse-27-M1-W77雙螺桿泵 W5Kse-22-M1-W75雙螺桿泵
W5KSe系列
W5Kse-20-M1-W77雙螺桿泵 W5Kse-20-M1-W75雙螺桿泵
W5Kse-40-M1-W77雙螺桿泵 W5Kse-40-M1-W75雙螺桿泵
W5Kse-60-M1-W77雙螺桿泵 W5Kse-60-M1-W75雙螺桿泵
W6KSe系列
W6Kse-30-M1-W77雙螺桿泵 W6Kse-30-M1-W75雙螺桿泵
W6Kse-38-M1-W77雙螺桿泵 W6Kse-38-M1-W75雙螺桿泵
W6Kse-50-M1-W77雙螺桿泵 W6Kse-50-M1-W75雙螺桿泵
W6Kse-67-M1-W77雙螺桿泵 W6Kse-67-M1-W75雙螺桿泵

一、裝卸要求
雙螺桿泵裝卸時,應將吊鉤鉤在包裝箱上所標明的位置上。
泵/機組由合格的人員小心運送,避免猛烈撞擊。
運輸過程中保持泵/機組方向并注意包裝指示。
運輸和儲存過程中泵進、出口應被封閉。
包裝材料必須按當地規定處理。
起吊設備(如叉車、起重機、吊具、滑輪、吊繩等)必須保證其強度且由有資格的人員操作。泵或泵機組的重量件數據表。
泵或泵機組起吊時必須牢固,如泵體、法蘭或底座。
二、安裝及調試
1. 安裝要求
1.1 建議泵的安裝位置,盡可能地靠近該泵抽送介質的供液源。泵房應該明亮寬敞、干凈、干燥,以便進行日常維護,并有足夠的空間進行安裝 維護與保養。
1.2 泵機組對安裝基礎要求平整;
1.3 地腳螺栓與基礎混凝土采用一次性澆灌法;
1.4. 泵機組安裝好后,應嚴格檢查聯軸器同軸度公差,控制在0.08mm范圍內,半聯軸器端面間隙是否控制在規定范圍內;
1.5 泵的吸入管,排出管口徑及法蘭面聯接應與泵的進口相匹配,管路在滿足配管要求前提下力求簡單,以減少沿程損失;
1.6 泵的吸入高度,吸程應保證泵在工作時所需汽蝕余量為準;
1.7 泵不允許承受管路載荷;
1.8 泵吸入管路應裝備過濾器,過濾器的濾網規格應根據輸送不同介質的情況選用,濾網規格一般為10-60目,網格的有效過流面積應大于泵吸口面積10-30倍;
1.9 安裝前應對吸入、排出管清理干凈,嚴禁帶入焊渣、鐵銹等雜物,以免進入泵后螺桿咬死;
1.10 管路作耐壓試驗和沖洗或吹掃時,應嚴格防止對泵及附件的損壞;
1.11 泵進出口配裝相應真空表、壓力表,以便觀察工作狀態,在泵出口應安裝截止閥和單向閥;
1.12 機組安裝調試,經2小時連續運轉無異常現象后視作安裝合格。
2、使用方法
為了保證泵的安全運轉,第一次啟動前的最終檢查是非常必要的,下面所列設備交付正常運轉所必須檢查的幾項內容;
2.1 檢查所有管道:管道是否都有獨立與泵的單獨支撐,并保證對泵不施加額外的力,管道以及其它附件的結合處是否有泄漏,所有管道是否都已沖洗干凈。閥門以及控制儀器是否都起作用,過濾器的網目是否符合要求;
2.2 泵腔內是否已注入足夠的被輸送的介質;
2.3 當泵軸承為外置時,應檢查齒輪箱內的油位是否達到規定的位置,過量的齒輪油會引起齒輪油的過熱;
2.4 檢查進出口壓力表以及其它儀表是否工作正常;
2.5 檢查所有管道、電纜、控制線以及附屬設備;檢查泵軸的轉動:用手轉動聯軸器,檢查泵軸聯軸器與電機軸是否均勻地轉動,如果有任何的磨擦與咬合,則不應交付使用,應該查出故障原因并排除;
2.6 檢查泵的轉動方向:點動電動機,檢查泵軸的轉動方向是否與泵上的轉向牌的方向一致;
2.7 打開管路所有閥門,保證整個輸送管道暢通;
2.8 帶冷卻結構的,開機前應先沖冷卻液,保證排水口有較大的冷卻液流出;
2.9 啟動電機檢查裝置是否有異常噪聲與震動。任何異常的震動和聲音的改變必須尋清原因,并加以排除;
2.10 如需停泵應先斷開電機電源再停泵,然后關閉進、出口管道上閘閥。
3、維護事項
3.1 泵驅動器若出現異常聲音應立即停機,查找原因;
3.2 出口壓力應在工作壓力范圍內,否則應查找原因;
3.3 若我廠提供了安全閥,則安全閥在出廠前已調試好,不應隨意調整;
3.4 注意泵溫的升降,以防止發生螺桿咬死,或軸功率不足現象;
3.5 軸封處漏油量大于10mL/h,應停機檢查;
3.6 先停泵后關閉閥門;
3.7 根據所輸送介質粘度的不同,泵的輸出壓力有所不同;
3.7.1 輸送3oE的介質,應降壓使用;
3.7.2 輸送3-100oE的介質,允許泵在最高壓力下使用;
3.7.3 輸送100oE以上的介質,應調整轉速或控制油溫下降;
4、潤滑
4.1 雙吸雙螺桿泵軸承為內置時,其軸承和齒輪都是通過被輸送介質本身來潤滑的,無需再加潤滑油或潤滑脂。當軸承為外置時,采用齒輪箱中的齒輪油來潤滑冷卻同步齒輪,同時也用來潤滑軸承座上的圓滾子軸承。建議齒輪箱中的齒輪油應采用參有抗泡劑、抗氧防腐劑以及抗磨極壓劑的高品質的齒輪油。